18/06 2021
Catalog SOLENOID VALVE HPW 2120 / 2130 / 2140 / 2150 / 2160
SOLENOID VALVE HPW – sản phẩm van điện từ Autosigma, được sử dụng trong hệ khí, nước hoặc dầu với nhiệt độ môi chất từ 0 đến 60 °C. Nó phù hợp và an toàn trong đường ống phân phối khí, hệ thống lọc nước, máy hàn, máy đóng gói, máy móc y tế, …
Nội dung catalog bao gồm các mã sản phẩm: HPW 2120, HPW 2130, HPW 2140, HPW 2150, HPW 2160.
Download catalog SOLENOID VALVE HPW series
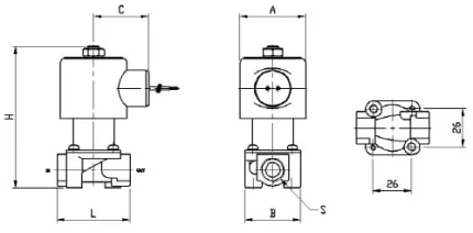
Kích thước
Trước khi tra cứu kích thước trên dòng van điện từ Autosigma HPW, chúng ta cần xem các ký hiệu thông qua hình ảnh sau:
| MODEL | L | H | A | B | C | Kết nối | Trọng lượng |
|---|---|---|---|---|---|---|---|
| HPW 2120 (8A) | 50 | 97 | 45 | 38 | 40 | Rc 1/4″ | 481g |
| HPW 2130 (10A) | 50 | 97 | 45 | 38 | 40 | Rc 3/8″ | 466g |
| HPW 2140 (15A) | 66 | 94 | 45 | 50 | 40 | Rc 1/2″ | 685g |
| HPW 2150 (20A) | 85 | 100 | 45 | 63 | 40 | Rc 3/4″ | 930g |
| HPW 2160 (25A) | 93 | 112 | 45 | 73 | 40 | Rc 1″ | 1,233g |
Thông số kỹ thuật SOLENOID VALVE HPW
| Môi chất làm việc | Khí, nước, dầu |
| Áp suất làm việc | 0.03 ~ 1.0 MPa (0.3 ~ 10 bar) |
| Điện áp | AC220V, AC110V DC24V, DC12V |
| Điện năng tiêu thụ | AC220V : 19VA DC24V : 14W |
| Vật liệu cách nhiệt | CLASS F |
| Chiều dài dây | 260mm |
| Nhiệt độ môi chất | 0 ~ 60℃ |
| Chất liệu thân van | Đồng thau |
| Chất liệu SEAT | NBR |
| OPTION | SEAT : EPDM, CR, FKM CONNECTION : PF, NPT COIL : DIN Connector type |



